金税三期个人所得税扣缴系统2019是一款专门为广大纳税人提供的网上缴纳税款的工具,浙江金税三期个人所得税扣缴系统适用于浙江省内的所有用户。我们如果需要缴纳个人所得税的话,就可以不必去税务局进行缴纳,直接可以通过电脑来完成,省去了你很多的麻烦。

主界面上显示的日常业务操作流程。根据箭头提示即可完成日常申报的操作。在每个步骤的下方都有快速切入按钮同时还可显示当月申报信息。
所得月份
主界面上的所得份每月申报前,请确认所得月份是否正确。
功能菜单
主界面左侧功能菜单包含多企业管理、人员登记、报表填写、减免事项附表、申报表报送、申报作废、查询统计、申报设置。
通知公告、个税政策、学习中心
主界面右上角查看各类信息,学习最新政策,掌握软件操作。
系统设置
主界面左侧功能菜单中的系统设置中可进行网络设置和数据备份。
系统初始化说明:
1.网络申报的用户,请选择网络注册。请确保输入正确的网税系统用户名及网络系统用户密码。
2.根据向导提示,先点击“下一步”进入办税信息的确认的环节和办税人员的信息登记,其中标红色*的部分为必填项,请确保信息准确无误。
3.根据向导提示,继续点击“下一步”进入登录密码设置环节,勾选“启动登录密码”进行密码设置。设置完毕后,点击立即体验进入操作系统。
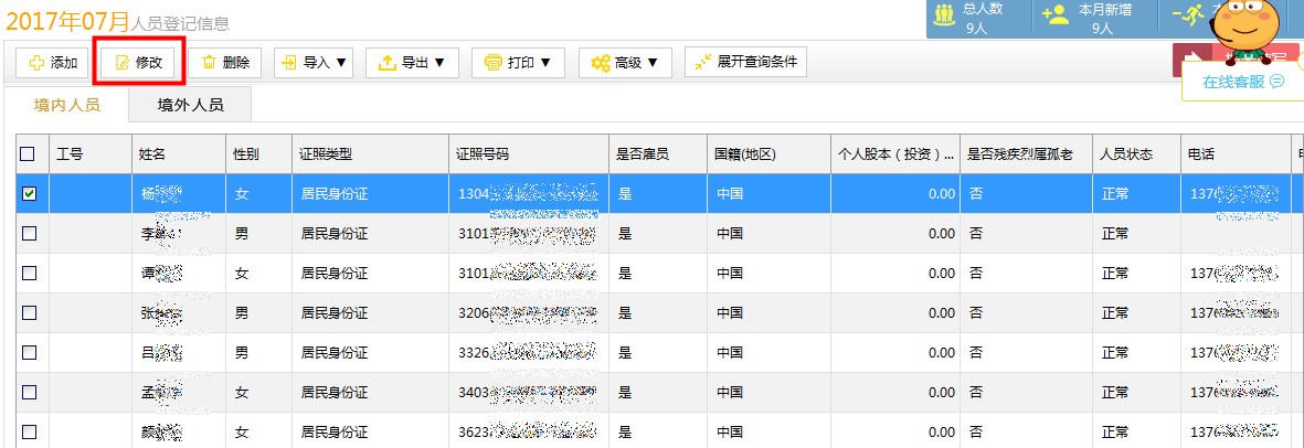
方法一:手工逐条修改登记录入。
1、进入个人所得税代扣代缴系统,选择【人员登记】;

2、选择需要修改的员工信息,点击【修改】按钮;

3、将【联系电话】如实、准确的填写完整,点击【保存】完成操作。

方法二:使用导入模板批量修改。
1、在【人员登记】中点击【导出】按钮,根据需要选择状态后点击【确认】;

2、在导出的EXCEL人员信息表中对【联系电话】列进行补充或修改;

3、在【人员登记】中点击【导入】按钮,选择已修改保存的EXCEL人员信息表,完成导入。人员信息数据将根据表单批量更新修改。


金税三期个人所得税扣缴系统2019选错税务机关怎样处理?
有的企业一个税号涉及好几个税务机关,选择税务机关的时候会选错,申报是系统提示:税务费种未认定。
(1)查看税务机关:
登录个税客户端:系统设置->单位管理->查看税务机关

如果税务机关选择错误,需要更改税务机关。单位信息不能直接修改。
(2)只有一个企业用户:先增加一个临时用户,再删除:
操作步骤一:多企业管理->增加->选择介质注册-> 输入临时户信息。
温馨提示:
(1)临时户不需要申报,所以选择介质注册,如果需要通过网络申报的企业,需要网络注册。
(2)如果是多企业管理用户,进入其他企业,再删除税务机关错误的企业,重新增加。

操作步骤二:进入临时户企业,删除税务机关错误的企业

操作步骤三:删除税务机关错误的企业,重新增加企业,选择正确的税务机关即可。

登陆密码是纳税人自己设置的,金三系统查询不到,纳税人可以点击登陆界面右下方忘记登陆密码,进行密码重置。

如何添加多企业?
点击功能菜单—企业管理—添加—保存

提示纳税人未做税费种认定,是什么原因?
纳税人请登陆山东地税网上办税服务厅查看税费种核定情况,如果查询不到个人所得税(工资薪金)或者征收代理方式不为代扣代缴的,请联系税管员或到办税服务厅窗口修改税种。

安装时一直出现乱码怎么办?
XP系统:控制面板→区域和语言选项→自定义→日期中把短日期格式改为YYYY-MM-DD;
win7系统:控制面板→区域和语言→短日期格式改为YYYY-MM-DD。
除了网络申报,还有其他方式可以申报吗?
个税客户端提供了网络申报和介质申报两种模式,用户可以根据实际情况进行切换,需进行介质申报时,请通过【申报设置】功能,切换申报模式为“介质申报”。
逾期申报的,必须使用介质申报,导出介质文件后,到办税服务厅窗口申报。
连接税务局受理服务器失败怎么办?
请按照以下方法依次核实:
(1)检查本台电脑的网络连接是否正常;
(2)退出杀毒软件、关闭防火墙;
(3)您单位如果是使用的代理服务器,请点击左侧“系统设置”→→“系统管理”→→“网络管理”→→“代理服务器”中进行设置。“测试连接”,成功之后再进行操作,如果没有代理服务器请将“使用代理服务器”前的“√”去掉;
(4)联系单位网络管理员核实是否屏蔽个税扣缴服务器端口:7888。
(5)在税务局服务器关闭或是不稳定时,也会有此提示,请在服务器恢复正常后进行操作。
提示获取企业信息失败,是什么原因?
初次安装使用的纳税人,在切换申报模式为网络申报时,提示“获取企业信息失败,不能切换到网络申报模式”,一般是由于个税扣缴系统安装包非本省的所致,请纳税人自行检查个税扣缴系统安装包是否从官网下载的,不能使用百度搜索的安装包。

提示未查询到您的登记信息是怎么回事?
纳税人在更新办税信息时,出现“未查询到您的登记信息”时,请检查您的单位税号录入是否正确,如果税号录入正确,请检查安装包是否从山东地税官网获取的,如果不是上述两原因,请联系税管员帮忙处理。


【软件介绍】
浙江金税三期个人所得税扣缴系统是浙江省地税国税局为广大纳税人提供的一款网上缴税软件,金税三期系统最近进行了一次大优化,本次优化版构建更加科学,应用部署更加合理,系统运行更加顺畅,税收征管的效能将得到进一步提升,办税服务也将更加便利快捷。【金税三期个人所得税扣缴系统2019功能介绍】
日常业务操作流程主界面上显示的日常业务操作流程。根据箭头提示即可完成日常申报的操作。在每个步骤的下方都有快速切入按钮同时还可显示当月申报信息。
所得月份
主界面上的所得份每月申报前,请确认所得月份是否正确。
功能菜单
主界面左侧功能菜单包含多企业管理、人员登记、报表填写、减免事项附表、申报表报送、申报作废、查询统计、申报设置。
通知公告、个税政策、学习中心
主界面右上角查看各类信息,学习最新政策,掌握软件操作。
系统设置
主界面左侧功能菜单中的系统设置中可进行网络设置和数据备份。
系统初始化说明:
1.网络申报的用户,请选择网络注册。请确保输入正确的网税系统用户名及网络系统用户密码。
2.根据向导提示,先点击“下一步”进入办税信息的确认的环节和办税人员的信息登记,其中标红色*的部分为必填项,请确保信息准确无误。
3.根据向导提示,继续点击“下一步”进入登录密码设置环节,勾选“启动登录密码”进行密码设置。设置完毕后,点击立即体验进入操作系统。
【金税三期个人所得税扣缴系统2019使用方法】
金税三期个人所得税扣缴系统2019怎么填写手机号?方法一:手工逐条修改登记录入。
1、进入个人所得税代扣代缴系统,选择【人员登记】;

2、选择需要修改的员工信息,点击【修改】按钮;

3、将【联系电话】如实、准确的填写完整,点击【保存】完成操作。

方法二:使用导入模板批量修改。
1、在【人员登记】中点击【导出】按钮,根据需要选择状态后点击【确认】;

2、在导出的EXCEL人员信息表中对【联系电话】列进行补充或修改;

3、在【人员登记】中点击【导入】按钮,选择已修改保存的EXCEL人员信息表,完成导入。人员信息数据将根据表单批量更新修改。


金税三期个人所得税扣缴系统2019选错税务机关怎样处理?
有的企业一个税号涉及好几个税务机关,选择税务机关的时候会选错,申报是系统提示:税务费种未认定。
(1)查看税务机关:
登录个税客户端:系统设置->单位管理->查看税务机关

如果税务机关选择错误,需要更改税务机关。单位信息不能直接修改。
(2)只有一个企业用户:先增加一个临时用户,再删除:
操作步骤一:多企业管理->增加->选择介质注册-> 输入临时户信息。
温馨提示:
(1)临时户不需要申报,所以选择介质注册,如果需要通过网络申报的企业,需要网络注册。
(2)如果是多企业管理用户,进入其他企业,再删除税务机关错误的企业,重新增加。

操作步骤二:进入临时户企业,删除税务机关错误的企业

操作步骤三:删除税务机关错误的企业,重新增加企业,选择正确的税务机关即可。

【金税三期个人所得税扣缴系统2019常见问题】
忘记登陆密码怎么办?登陆密码是纳税人自己设置的,金三系统查询不到,纳税人可以点击登陆界面右下方忘记登陆密码,进行密码重置。

如何添加多企业?
点击功能菜单—企业管理—添加—保存

提示纳税人未做税费种认定,是什么原因?
纳税人请登陆山东地税网上办税服务厅查看税费种核定情况,如果查询不到个人所得税(工资薪金)或者征收代理方式不为代扣代缴的,请联系税管员或到办税服务厅窗口修改税种。

安装时一直出现乱码怎么办?
XP系统:控制面板→区域和语言选项→自定义→日期中把短日期格式改为YYYY-MM-DD;
win7系统:控制面板→区域和语言→短日期格式改为YYYY-MM-DD。
除了网络申报,还有其他方式可以申报吗?
个税客户端提供了网络申报和介质申报两种模式,用户可以根据实际情况进行切换,需进行介质申报时,请通过【申报设置】功能,切换申报模式为“介质申报”。
逾期申报的,必须使用介质申报,导出介质文件后,到办税服务厅窗口申报。
连接税务局受理服务器失败怎么办?
请按照以下方法依次核实:
(1)检查本台电脑的网络连接是否正常;
(2)退出杀毒软件、关闭防火墙;
(3)您单位如果是使用的代理服务器,请点击左侧“系统设置”→→“系统管理”→→“网络管理”→→“代理服务器”中进行设置。“测试连接”,成功之后再进行操作,如果没有代理服务器请将“使用代理服务器”前的“√”去掉;
(4)联系单位网络管理员核实是否屏蔽个税扣缴服务器端口:7888。
(5)在税务局服务器关闭或是不稳定时,也会有此提示,请在服务器恢复正常后进行操作。
提示获取企业信息失败,是什么原因?
初次安装使用的纳税人,在切换申报模式为网络申报时,提示“获取企业信息失败,不能切换到网络申报模式”,一般是由于个税扣缴系统安装包非本省的所致,请纳税人自行检查个税扣缴系统安装包是否从官网下载的,不能使用百度搜索的安装包。

提示未查询到您的登记信息是怎么回事?
纳税人在更新办税信息时,出现“未查询到您的登记信息”时,请检查您的单位税号录入是否正确,如果税号录入正确,请检查安装包是否从山东地税官网获取的,如果不是上述两原因,请联系税管员帮忙处理。


